 |
|
 |
 |
| Main body dimensions. |
 |
|
| Size of ring gear bolts |
Φ12.0
(Hole diameter
Φ12.3) |
| Number of ring gear bolts |
10 |
| Ring gear bolts PCD |
150 |
|
|
|
|
|
 |
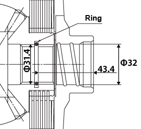
| Dimensions of the flanges left side slot |
| |
 |
| |
| Number of Teeth |
29T |
| snap ring |
Without |
| Washer |
With |
| The manufacturers genuine parts side flange part number. |
38220-73L01 |
| 38220-53F01 |
|
|
|
|
| Dimensions of the flanges right side slot |
| |
 |
| |
| Number of Teeth |
29T |
| snap ring |
Without |
| Washer |
With |
| The manufacturers genuine parts side flange part number. |
38220-73L01 |
| 38220-53F01 |
|
|
|
|
| |
| Check the specifications and dimensions at the end. |
|
 |
 |
 |
| Main body dimensions. |
 |
|
| Size of ring gear bolts |
Φ13.0
(Hole diameter
Φ13.3) |
| Number of ring gear bolts |
10 |
| Ring gear bolts PCD |
150 |
|
|
|
|
|
 |
| Dimensions of the flanges left side slot |
| |
 |
| |
| Number of Teeth |
29T |
| snap ring |
Without |
| Washer |
With |
| The manufacturers genuine parts side flange part number. |
38220-73L00 |
| 38220-92L00 |
|
|
|
|
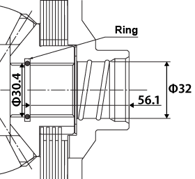
| Dimensions of the flanges right side slot |
| |
 |
| |
| Number of Teeth |
29T |
| snap ring |
With |
| Washer |
Without |
| The manufacturers genuine parts side flange part number. |
38220-73L00 |
| 38220-92L00 |
|
|
|
|
| |
| Check the specifications and dimensions at the end. |
 |
 |
 |
| Main body dimensions. |
 |
|
| Size of ring gear bolts |
Φ13.0
(Hole diameter
Φ13.3) |
| Number of ring gear bolts |
10 |
| Ring gear bolts PCD |
150 |
|
|
|
|
|
 |
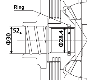
| Dimensions of the flanges left side slot |
| |
 |
| |
| Number of Teeth |
30T |
| snap ring |
Without |
| Washer |
With |
| The manufacturers genuine parts side flange part number. |
38220-AA075 |
| 38220-94L00 |
|
|
|
|
| Dimensions of the flanges right side slot |
| |
 |
| |
| Number of Teeth |
30T |
| snap ring |
With |
| Washer |
Without |
| The manufacturers genuine parts side flange part number. |
38220-AA075 |
| 38220-94L00 |
|
|
|
|
| |
| Check the specifications and dimensions at the end. |
 |
 |
 |
| Main body dimensions. |
 |
|
| Size of ring gear bolts |
Φ13.0
(Hole diameter
Φ13.3) |
| Number of ring gear bolts |
10 |
| Ring gear bolts PCD |
150 |
|
|
|
|
|
 |
| Dimensions of the flanges left side slot |
| |
 |
| |
| Number of Teeth |
30T |
| snap ring |
With |
| Washer |
Without |
| The manufacturers genuine parts side flange part number. |
338220-4P060 |
| 38220-05U11 |
|
|
|
|
| Dimensions of the flanges right side slot |
| |
 |
| |
| Number of Teeth |
30T |
| snap ring |
With |
| Washer |
Without |
| The manufacturers genuine parts side flange part number. |
38220-4P061 |
| 38220-05U10 |
|
|
|
|
| |
| Check the specifications and dimensions at the end. |
 |
 |
 |
| Main body dimensions. |
 |
|
| Size of ring gear bolts |
Φ12.0
(Hole diameter
Φ12.3) |
| Number of ring gear bolts |
10 |
| Ring gear bolts PCD |
150 |
|
|
|
|
|
 |
| Dimensions of the flanges left side slot |
| |
 |
| |
| Number of Teeth |
29T |
| snap ring |
With |
| Washer |
Without |
| The manufacturers genuine parts side flange part number. |
38220-51F01 |
|
|
|
|
| Dimensions of the flanges right side slot |
| |
 |
| |
| Number of Teeth |
29T |
| snap ring |
With |
| Washer |
Without |
| The manufacturers genuine parts side flange part number. |
38220-51F00 |
|
|
|
|
| |
| Check the specifications and dimensions at the end. |
 |
 |
 |
| Main body dimensions. |
 |
|
| Size of ring gear bolts |
Φ13.0
(Hole diameter
Φ13.3) |
| Number of ring gear bolts |
10 |
| Ring gear bolts PCD |
150 |
|
|
|
|
|
 |
| Dimensions of the flanges left side slot |
| |
 |
| |
| Number of Teeth |
31T |
| snap ring |
Without |
| Washer |
Without |
| The manufacturers genuine parts side flange part number. |
38220-AR011 |
|
|
|
|
| Dimensions of the flanges right side slot |
| |
 |
| |
| Number of Teeth |
31T |
| snap ring |
With |
| Washer |
Without |
| The manufacturers genuine parts side flange part number. |
38220-AR010 |
|
|
|
|
| |
| Check the specifications and dimensions at the end. |
 |
 |
 |
| Main body dimensions. |
 |
|
| Size of ring gear bolts |
Φ13.0
(Hole diameter
Φ13.3) |
| Number of ring gear bolts |
10 |
| Ring gear bolts PCD |
150 |
|
|
|
|
|
 |
| Dimensions of the flanges left side slot |
| |
 |
| |
| Number of Teeth |
31T |
| snap ring |
With |
| Washer |
Without |
| The manufacturers genuine parts side flange part number. |
|
|
|
|
|
| Dimensions of the flanges right side slot |
| |
 |
| |
| Number of Teeth |
31T |
| snap ring |
With |
| Washer |
Without |
| The manufacturers genuine parts side flange part number. |
|
|
|
|
|
| |
| Check the specifications and dimensions at the end. |
 |
 |
 |
| Main body dimensions. |
 |
|
| Size of ring gear bolts |
Φ11
(Hole diameter
Φ11.3) |
| Number of ring gear bolts |
8 |
| Ring gear bolts PCD |
135 |
|
|
|
|
|
 |
| Dimensions of the flanges left side slot |
| |
 |
| |
| Number of Teeth |
27T |
| snap ring |
With |
| Washer |
Without |
| The manufacturers genuine parts side flange part number. |
38220-50F00 |
|
|
|
|
| Dimensions of the flanges right side slot |
| |
 |
| |
| Number of Teeth |
27T |
| snap ring |
With |
| Washer |
Without |
| The manufacturers genuine parts side flange part number. |
38220-50F00 |
|
|
|
|
| |
| Check the specifications and dimensions at the end. |
 |
 |
 |
| Main body dimensions. |
 |
|
| Size of ring gear bolts |
Φ12.3 |
| Number of ring gear bolts |
12 |
| Ring gear bolts PCD |
176 |
|
|
|
|
|
 |
| Dimensions of the flanges left side slot |
| |
 |
| |
| Number of Teeth |
31T |
| snap ring |
Without |
| Washer |
Without |
| The manufacturers genuine parts side flange part number. |
38220-40P11 |
|
|
|
|
| Dimensions of the flanges right side slot |
| |
 |
| |
| Number of Teeth |
31T |
| snap ring |
With |
| Washer |
Without |
| The manufacturers genuine parts side flange part number. |
38220-40P10 |
|
|
|
|
| |
| Check the specifications and dimensions at the end. |
 |
 |
|
 |
 |
| Main body dimensions. |
 |
|
| Size of ring gear bolts |
Φ11.0 (Hole diameterφ11.3) |
| Number of ring gear bolts |
10 |
| Ring gear bolts PCD |
160 |
|
|
|
|
|
 |
| Dimensions of the flanges left side slot |
| |
 |
| |
| Number of Teeth |
30T |
| snap ring |
Without |
| Washer |
Without |
| snap ring groove |
With |
| The manufacturers genuine parts side flange part number. |
41309-51010 |
|
|
|
|
| Dimensions of the flanges right side slot |
| |
 |
| |
| Number of Teeth |
30T |
| snap ring |
Without |
| Washer |
Without |
| snap ring groove |
With |
| The manufacturers genuine parts side flange part number. |
41309-51010 |
|
|
|
|
| |
| Check the specifications and dimensions at the end. |
 |
 |
 |
| Main body dimensions. |
 |
|
| Size of ring gear bolts |
Φ11.0 (Hole diameterφ11.3) |
| Number of ring gear bolts |
10 |
| Ring gear bolts PCD |
160 |
|
|
|
|
|
 |
| Dimensions of the flanges left side slot |
| |
 |
| |
| Number of Teeth |
30T |
| snap ring |
Without |
| Washer |
Without |
| snap ring groove |
With×2 |
| The manufacturers genuine parts side flange part number. |
41309-22090 |
|
|
|
|
| Dimensions of the flanges right side slot |
| |
 |
| |
| Number of Teeth |
30T |
| snap ring |
Without |
| Washer |
Without |
| snap ring groove |
With |
| The manufacturers genuine parts side flange part number. |
41309-22090 |
|
|
|
|
| |
| Check the specifications and dimensions at the end. |
 |
 |
 |
| Main body dimensions. |
 |
|
| Size of ring gear bolts |
Φ11.0
(Hole diameter
Φ11.3) |
| Number of ring gear bolts |
10 |
| Ring gear bolts PCD |
160 |
|
|
|
|
|
 |
| Dimensions of the flanges left side slot |
| |
 |
| |
| Number of Teeth |
30T |
| snap ring |
Without |
| Washer |
Without |
| snap ring groove |
With |
| The manufacturers genuine parts side flange part number. |
― |
|
|
|
|
| Dimensions of the flanges right side slot |
| |
 |
| |
| Number of Teeth |
30T |
| snap ring |
Without |
| Washer |
Without |
| snap ring groove |
With |
| The manufacturers genuine parts side flange part number. |
― |
|
|
|
|
| |
| Check the specifications and dimensions at the end. |
 |
 |
 |
| Main body dimensions. |
 |
|
| Size of ring gear bolts |
Φ12.0
(Hole diameterΦ12.3) |
| Number of ring gear bolts |
10 |
| Ring gear bolts PCD |
150 |
|
|
|
|
|
 |
| Dimensions of the flanges left side slot |
| |
 |
| |
| Number of Teeth |
30T |
| snap ring |
Without |
| Washer |
Without |
| snap ring groove |
With |
| The manufacturers genuine parts side flange part number. |
41309-24020 |
|
|
|
|
| Dimensions of the flanges right side slot |
| |
 |
| |
| Number of Teeth |
30T |
| snap ring |
Without |
| Washer |
Without |
| snap ring groove |
With |
| The manufacturers genuine parts side flange part number. |
41309-24020 |
|
|
|
|
| |
| Check the specifications and dimensions at the end. |
 |
 |
 |
| Main body dimensions. |
 |
|
| Size of ring gear bolts |
Φ11.0
(Hole diameterΦ11.3) |
| Number of ring gear bolts |
8 |
| Ring gear bolts PCD |
125 |
|
|
|
|
|
 |
| Dimensions of the flanges left side slot |
| |
 |
| |
| Number of Teeth |
23T |
| snap ring |
Without |
| Washer |
Without |
| snap ring groove |
Without |
| The manufacturers genuine parts side flange part number. |
42311-12101 |
| 42311-14121 |
|
|
|
|
| Dimensions of the flanges right side slot |
| |
 |
| |
| Number of Teeth |
23T |
| snap ring |
Without |
| Washer |
Without |
| snap ring groove |
Without |
| The manufacturers genuine parts side flange part number. |
42311-12101 |
| 42311-14121 |
|
|
|
|
| |
| Check the specifications and dimensions at the end. |
 |
 |
 |
| Main body dimensions. |
 |
|
| Size of ring gear bolts |
Φ11.0
(Hole diameterΦ11.3) |
| Number of ring gear bolts |
8 |
| Ring gear bolts PCD |
125 |
|
|
|
|
|
 |
| Dimensions of the flanges left side slot |
| |
 |
| |
| Number of Teeth |
23T |
| snap ring |
Without |
| Washer |
Without |
| snap ring groove |
Without |
| The manufacturers genuine parts side flange part number. |
42311-12100 |
|
|
|
|
| Dimensions of the flanges right side slot |
| |
 |
| |
| Number of Teeth |
23T |
| snap ring |
Without |
| Washer |
Without |
| snap ring groove |
Without |
| The manufacturers genuine parts side flange part number. |
42311-12100 |
|
|
|
|
| |
| Check the specifications and dimensions at the end. |
 |
 |
|
 |
 |
| Main body dimensions. |
 |
|
| Size of ring gear bolts |
Φ10.0
(Hole diameterΦ10.3) |
| Number of ring gear bolts |
10 |
| Ring gear bolts PCD |
160 |
|
|
|
|
|
 |
| Dimensions of the flanges left side slot |
| |
 |
| |
| Number of Teeth |
23T |
| snap ring |
Without |
| Washer |
Without |
| snap ring groove |
With |
| The manufacturers genuine parts side flange part number. |
― |
|
|
|
|
| Dimensions of the flanges right side slot |
| |
 |
| |
| Number of Teeth |
23T |
| snap ring |
Without |
| Washer |
Without |
| snap ring groove |
With |
| The manufacturers genuine parts side flange part number. |
― |
|
|
|
|
| |
| Check the specifications and dimensions at the end. |
 |
 |
 |
| Main body dimensions. |
 |
|
| Size of ring gear bolts |
Φ10.0
(Hole diameterΦ10.3) |
| Number of ring gear bolts |
10 |
| Ring gear bolts PCD |
160 |
|
|
|
|
|
 |
| Dimensions of the flanges left side slot |
| |
 |
| |
| Number of Teeth |
30T |
| snap ring |
Without |
| Washer |
Without |
| snap ring groove |
With |
| The manufacturers genuine parts side flange part number. |
― |
|
|
|
|
| Dimensions of the flanges right side slot |
| |
 |
| |
| Number of Teeth |
30T |
| snap ring |
Without |
| Washer |
Without |
| snap ring groove |
With |
| The manufacturers genuine parts side flange part number. |
― |
|
|
|
|
| |
| Check the specifications and dimensions at the end. |
 |
 |
 |
| Main body dimensions. |
 |
|
| Size of ring gear bolts |
Φ10.0
(Hole diameterΦ10.3) |
| Number of ring gear bolts |
8 |
| Ring gear bolts PCD |
114 |
|
|
|
|
|
 |
| Dimensions of the flanges left side slot |
| |
 |
| |
| Number of Teeth |
24T |
| snap ring |
Without |
| Washer |
Without |
| snap ring groove |
With |
| The manufacturers genuine parts side flange part number. |
― |
|
|
|
|
| Dimensions of the flanges right side slot |
| |
 |
| |
| Number of Teeth |
24T |
| snap ring |
Without |
| Washer |
Without |
| snap ring groove |
With |
| The manufacturers genuine parts side flange part number. |
― |
|
|
|
|
| |
| Check the specifications and dimensions at the end. |
 |
 |
 |
| Main body dimensions. |
 |
|
| Size of ring gear bolts |
Φ10.0
(Hole diameterΦ10.3) |
| Number of ring gear bolts |
10 |
| Ring gear bolts PCD |
134 |
|
|
|
|
|
 |
| Dimensions of the flanges left side slot |
| |
 |
| |
| Number of Teeth |
26T |
| snap ring |
Without |
| Washer |
Without |
| snap ring groove |
With |
| The manufacturers genuine parts side flange part number. |
― |
|
|
|
|
| Dimensions of the flanges right side slot |
| |
 |
| |
| Number of Teeth |
26T |
| snap ring |
Without |
| Washer |
Without |
| snap ring groove |
With |
| The manufacturers genuine parts side flange part number. |
― |
|
|
|
|
| |
| Check the specifications and dimensions at the end. |
 |
 |
 |
| Main body dimensions. |
 |
|
| Size of ring gear bolts |
Φ10.0
(Hole diameterΦ10.3) |
| Number of ring gear bolts |
10 |
| Ring gear bolts PCD |
134 |
|
|
|
|
|
 |
| Dimensions of the flanges left side slot |
| |
 |
| |
| Number of Teeth |
28T |
| snap ring |
Without |
| Washer |
Without |
| snap ring groove |
With |
| The manufacturers genuine parts side flange part number. |
― |
|
|
|
|
| Dimensions of the flanges right side slot |
| |
 |
| |
| Number of Teeth |
28T |
| snap ring |
Without |
| Washer |
Without |
| snap ring groove |
With |
| The manufacturers genuine parts side flange part number. |
― |
|
|
|
|
| |
| Check the specifications and dimensions at the end. |
 |
 |
|
 |
 |
| Main body dimensions. |
 |
|
| Size of ring gear bolts |
Φ10.0
(Hole diameterΦ10.3) |
| Number of ring gear bolts |
10 |
| Ring gear bolts PCD |
134 |
|
|
|
|
|
 |
| Dimensions of the flanges left side slot |
| |
 |
| |
| Number of Teeth |
28T |
| snap ring |
Without |
| Washer |
Without |
| snap ring groove |
With |
| The manufacturers genuine parts side flange part number. |
― |
|
|
|
|
| Dimensions of the flanges right side slot |
| |
 |
| |
| Number of Teeth |
28T |
| snap ring |
Without |
| Washer |
Without |
| snap ring groove |
With |
| The manufacturers genuine parts side flange part number. |
― |
|
|
|
|
| |
| Check the specifications and dimensions at the end. |
 |
 |
|
 |
 |
| Main body dimensions. |
 |
|
| Size of ring gear bolts |
Φ11.0
(Hole diameter
Φ11.3) |
| Number of ring gear bolts |
10 |
| Ring gear bolts PCD |
160 |
|
|
|
|
|
 |
| Dimensions of the flanges left side slot |
| |
 |
| |
| Number of Teeth |
30T |
| snap ring |
Without |
| Washer |
Without |
| snap ring groove |
With |
| The manufacturers genuine parts side flange part number. |
― |
|
|
|
|
| Dimensions of the flanges right side slot |
| |
 |
| |
| Number of Teeth |
30T |
| snap ring |
Without |
| Washer |
Without |
| snap ring groove |
With |
| The manufacturers genuine parts side flange part number. |
― |
|
|
|
|
| |
| Check the specifications and dimensions at the end. |
  |
| |
|
 |
 |
| Main body dimensions. |
 |
|
| Size of ring gear bolts |
Φ11.0
(Hole diameter
Φ11.3) |
| Number of ring gear bolts |
10 |
| Ring gear bolts PCD |
160 |
|
|
|
|
|
 |
| Dimensions of the flanges left side slot |
| |
 |
| |
| Number of Teeth |
30T |
| snap ring |
Without |
| Washer |
Without |
| snap ring groove |
Without |
| The manufacturers genuine parts side flange part number. |
― |
|
|
|
|
| Dimensions of the flanges right side slot |
| |
 |
| |
| Number of Teeth |
30T |
| snap ring |
Without |
| Washer |
Without |
| snap ring groove |
Without |
| The manufacturers genuine parts side flange part number. |
― |
|
|
|
|
| |
| Check the specifications and dimensions at the end. |