鍛造ピストンキット EJ20FORGED PISTON KIT EJ20
鍛造ピストンキット EJ20
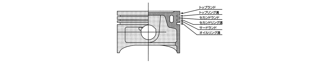
ピストン
EJ20 STDエンジンのオーバーホール時に使用でき、かつSTDピストンでは抑えきれないパワーと耐久を要する仕様へのアドバンテージを得るために最適なピストンです。
PRODUCT INFO
| 適用 | タイプ | ボア径 | 圧縮比ターゲット | 排気量 | 品番 | 定価 | 備考 |
|---|---|---|---|---|---|---|---|
| EJ20# | φ92.5 | 8.0 | 2015cc | 1183925312 | ¥128,000 (税込 ¥140,800) | インプレッサSTi (EJ207) インプレッサ WRX STi (EJ20Y) への使用に適しています。 |
|
| Hiタイプ | 9.5~9.0 | 1186925312 | ¥138,000 (税込 ¥151,800) | インプレッサ WRX(GC8 EJ205/GDA EJ205) レガシィー(BE,BH EJ206/EJ208) フォレスター(SF5 EJ205/SG5 EJ205/SH5 EJ205) エクシーガ(YA5 EJ205) への使用に適しています。 |
※すべてのピストンキットには、ピストン本体の他にピストンリング、ピストンピン、サークリップが含まれます。
■ショートパーツ(補修用)
| 品名 | サイズ | 品番 | 定価 | 備考 | |
|---|---|---|---|---|---|
| ピストン単品 | φ92.5 | 1183925314 | ¥32,000 (税込 ¥35,200) | ||
| Hiタイプ | 1186925314 | ¥34,500 (税込 ¥37,950) | |||
| ピストンリングセット | φ92.5 | 11992551 | ¥20,000 (税込 ¥22,000) | ||
| ピストンピン | φ23-62mm | 12031R023 | ¥2,000 (税込 ¥2,200) | ||
| サークリップ | φ23 | 12032R023 | ¥1,200 (税込 ¥1,320) | ||
FEATURE / SPEC
| ピストン仕様SPEC | ボア径(mm)Bore(mm) | ピン径(mm)Pin Dia.(mm) | 長さ(mm)Length(mm) | リセスReces | コンプレッションハイト(mm)Comp.Height(mm) | クラウン部容積 (cc)PistonCrownVolume(cc) | トップリング BxT(mm)Top ring BxT(mm) |
セカンドリング BxT(mm)Second ring BxT(mm) |
オイルリング BxT(mm)Oil ring BxT(mm) |
|---|---|---|---|---|---|---|---|---|---|
| 92.5 | 23 | 62 | ○ | 32.0 | 8.5 | 1.20*3.30 | 1.20*3.70 | 2.50*2.85 | |
| HiタイプHi-Comp Type | ○* | 1.8 |
*オーバーサイズバルブには対応していません。*Not compatible with larger valves
開発テーマDevelopment Thema
ピストンは燃焼によるエネルギーを動力に変換するすべての基となる部品であり、エンジン部品の中でも最も多くの運動量と激しい温度変化、そして高い圧力を受けています。
生産性を最優先させた鋳造(ちゅうぞう)素材では必要な温度強度を確保できません。この過酷な条件の中で100PS/1気筒を超えるチューニングエンジンのピストン素材はアルミ合金を使った鍛造(たんぞう)以外に考えられません。
燃焼圧力200気圧、作用する力11トン、燃焼ガス温度2500℃。例えば、高度にチューニングされた日産RB26やSRのピストンはかつてのグループCやF1と同じ条件で使用されていることを忘れてはいけないのです。 Since the piston is one of the most important components in an engine assembly, transferring combusted energy to mechanical movement, it must have enough strength to withstand severe temperature fluctuations and high pressures. Stock OEM manufactured pistons are typically made from cast metal and is ideal for mass production, however they cannot sustain the stress when used in highly modified engines that produce over 100 horsepower per cylinder. By using forged metal made from aluminum alloy to construct our pistons, the metal can then endure severe circumstances beyond the stock level. These forged pistons can withstand combustion pressures of 200 kgf and 11 tons of force with the combusted gas temperatures up to 2,500 degrees Celsius. Tomei pistons that are used in highly tuned RB26 and SR20 engines are the same type of pistons used in Group C and F1 racing.
ピストンの構造と運転状態によってピストン各部の熱膨張は異なります。TOMEIが採用しているアルミの熱膨張①を正確に把握した楕円、たる形の三次元プロフィールは、微妙な形状変化を持たせた無数の試作品を、ひとつひとつエンジンベンチにより評価したノウハウのかたまりです。
ピストンの温度分布はその形状や運転状態に大きく影響を受け、アルミの特質から熱膨張も大きいので、適正なクリアランスを確保するには、高負荷時のピストン各部の温度とそれぞれの熱膨張を正確に把握して楕円、樽形の三次元プロフィールを算出し、1/1000ミリ単位のカーブで熱膨張を補正する必要があります。
クリアランスが過大な場合、燃焼ガスを有効に動力に変えることができず出力が低下するのはもちろん、ピストンの過大な首振り現象が発生し燃焼ガスが吹き抜けてしまいます(ブローバイガス)。ブローバイガスは、ピストンリングとシリンダー間の油膜を切ったり、エンジンオイルに混入しオイルを希釈してしまい、オイルの基本性能を著しく低下させます。メタルの焼き付きや異常摩耗の原因がブロ-バイガスであることが意外と多く、また熱膨張が大きく、クリアランスが過少になった部位では、リングの焼き付きやスカッフが発生します。
真円ピストンでは特に温度が上がるトップランド、ピストンピンボス方向の熱膨張を補正できません。真円ピストンに交換したチューニングエンジンでピンボス方向の当たりが強くなるのは、こうしたメカニズムなのです。 The metal expansion rate in each piston will differ according to the material of the piston and driving conditions. In order to develop the perfect piston for each and every engine types, we have studied the characteristics of heat expansion in aluminum with many prototypes and countless hours on the engine bench dynamometer.
The resulting product is a 3 dimensional profile of the oval and barrel design. We have succeeded to produce a piston in 1/1000 mm of accuracy that applies to the appropriate piston to wall clearance.
Too big of a clearance results in power loss due to escaping gases between the cylinder wall and piston rings (blow-by), with decreased combusted energy transferred to mechanical movement. Another factor that causes blow-by is when the clearance is too large; the piston begins to rock at its pin axis inside the cylinder, causing the piston to scuff the cylinder walls at times.
Perfectly circled pistons are unable to wholly expand into the diameter of the cylinder, especially because of the difference in thermal expansion between the top land and piston skirt areas. This is why in some engines, the contact occurs at the vertical position of the perfectly circled piston because of the uneven expansion.
ピストンリングの薄型化によりフリクションの低減とフラッタリングを防止します。さらに慣性力が低下してリングの持ち上がりを防ぐことができるため、ブローバイ量が少なくなります。また、ピストン冠面からピンまでの間で、設計の自由度を上げることができるため、ランド寸法や形状の最適化が可能になります。理想的なピストンヘッド形状を形成することでピストン強度は飛躍的に向上しました。
We selected high performance thinner piston ring for less friction loss and to prevent fluttering. This can also prevent having a floating piston ring by reducing its inertia to help cut down the blowby. In addition to it, there will be more open area for designing between the piston head and piston pin; it is possible to set the size and shape of the piston topland freely. Designed in an ideal spec the pistons strength has been dramatically increased.
機種別の専用鍛造素材を採用することにより、汎用鍛造素材から削り出す製法では実現できない究極の強度、軽さを実現し、重量誤差を大幅に低減することに成功しました。
By using especially selected forged metal alloys on each part of our products, we succeed to giving our products an extraordinary extraordinary strength while greatly reducing the pistons overall weight. For this reason it is impossible to make all pistons on the same metal core as it may not be beneficial for another engines application.
生産性を最優先させた鋳造(ちゅうぞう)素材では必要な温度強度を確保できません。この過酷な条件の中で100PS/1気筒を超えるチューニングエンジンのピストン素材はアルミ合金を使った鍛造(たんぞう)以外に考えられません。
燃焼圧力200気圧、作用する力11トン、燃焼ガス温度2500℃。例えば、高度にチューニングされた日産RB26やSRのピストンはかつてのグループCやF1と同じ条件で使用されていることを忘れてはいけないのです。 Since the piston is one of the most important components in an engine assembly, transferring combusted energy to mechanical movement, it must have enough strength to withstand severe temperature fluctuations and high pressures. Stock OEM manufactured pistons are typically made from cast metal and is ideal for mass production, however they cannot sustain the stress when used in highly modified engines that produce over 100 horsepower per cylinder. By using forged metal made from aluminum alloy to construct our pistons, the metal can then endure severe circumstances beyond the stock level. These forged pistons can withstand combustion pressures of 200 kgf and 11 tons of force with the combusted gas temperatures up to 2,500 degrees Celsius. Tomei pistons that are used in highly tuned RB26 and SR20 engines are the same type of pistons used in Group C and F1 racing.
3D(3次元)プロフィール3 DIMENSION PROFILE
ピストンの温度分布はその形状や運転状態に大きく影響を受け、アルミの特質から熱膨張も大きいので、適正なクリアランスを確保するには、高負荷時のピストン各部の温度とそれぞれの熱膨張を正確に把握して楕円、樽形の三次元プロフィールを算出し、1/1000ミリ単位のカーブで熱膨張を補正する必要があります。
クリアランスが過大な場合、燃焼ガスを有効に動力に変えることができず出力が低下するのはもちろん、ピストンの過大な首振り現象が発生し燃焼ガスが吹き抜けてしまいます(ブローバイガス)。ブローバイガスは、ピストンリングとシリンダー間の油膜を切ったり、エンジンオイルに混入しオイルを希釈してしまい、オイルの基本性能を著しく低下させます。メタルの焼き付きや異常摩耗の原因がブロ-バイガスであることが意外と多く、また熱膨張が大きく、クリアランスが過少になった部位では、リングの焼き付きやスカッフが発生します。
真円ピストンでは特に温度が上がるトップランド、ピストンピンボス方向の熱膨張を補正できません。真円ピストンに交換したチューニングエンジンでピンボス方向の当たりが強くなるのは、こうしたメカニズムなのです。 The metal expansion rate in each piston will differ according to the material of the piston and driving conditions. In order to develop the perfect piston for each and every engine types, we have studied the characteristics of heat expansion in aluminum with many prototypes and countless hours on the engine bench dynamometer.
The resulting product is a 3 dimensional profile of the oval and barrel design. We have succeeded to produce a piston in 1/1000 mm of accuracy that applies to the appropriate piston to wall clearance.
Too big of a clearance results in power loss due to escaping gases between the cylinder wall and piston rings (blow-by), with decreased combusted energy transferred to mechanical movement. Another factor that causes blow-by is when the clearance is too large; the piston begins to rock at its pin axis inside the cylinder, causing the piston to scuff the cylinder walls at times.
Perfectly circled pistons are unable to wholly expand into the diameter of the cylinder, especially because of the difference in thermal expansion between the top land and piston skirt areas. This is why in some engines, the contact occurs at the vertical position of the perfectly circled piston because of the uneven expansion.
薄型リングTHINNER RINGS
ピストンリングの薄型化によりフリクションの低減とフラッタリングを防止します。さらに慣性力が低下してリングの持ち上がりを防ぐことができるため、ブローバイ量が少なくなります。また、ピストン冠面からピンまでの間で、設計の自由度を上げることができるため、ランド寸法や形状の最適化が可能になります。理想的なピストンヘッド形状を形成することでピストン強度は飛躍的に向上しました。
We selected high performance thinner piston ring for less friction loss and to prevent fluttering. This can also prevent having a floating piston ring by reducing its inertia to help cut down the blowby. In addition to it, there will be more open area for designing between the piston head and piston pin; it is possible to set the size and shape of the piston topland freely. Designed in an ideal spec the pistons strength has been dramatically increased.
機種別専用鍛造素材の採用APPLICATION SPECIFIC ESPECIALLY FORGED CORES
機種別の専用鍛造素材を採用することにより、汎用鍛造素材から削り出す製法では実現できない究極の強度、軽さを実現し、重量誤差を大幅に低減することに成功しました。
By using especially selected forged metal alloys on each part of our products, we succeed to giving our products an extraordinary extraordinary strength while greatly reducing the pistons overall weight. For this reason it is impossible to make all pistons on the same metal core as it may not be beneficial for another engines application.
高い精度の組付を可能とするダミーヘッドボーリングをおすすめしています。
ノーマルピストンは生産性・コスト・使用環境特定の難しさなどから、ガスシール性優先のプロフィールを製作することができません。また、シリンダーは自動車メーカーのラインの中でシリンダーブロック単体として製作されており、単体としての円筒精度はありますがシリンダーヘッドを取り付けた状態での円筒精度がありません。 TOMEIでは適正なプロフィールのオーバーサイズピストンを使う際には、エンジン組付時、組付精度とガスシール性を高くする、ダミーヘッドを取り付けて、シリンダーを歪ませた上でボーリングするダミーヘッドボーリングを推奨しています。
【チューニングサービス】腰下加工
FORGED PISTON KIT EJ20
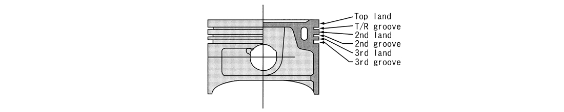
PISTON
PRODUCT INFO
| APPLICATION | タイプ | Bore Dia. | 圧縮比ターケッット | Displacement | P/N | JPY | NOTE |
|---|---|---|---|---|---|---|---|
| EJ20# | φ92.5 | 8.0 | 2015cc | 1183925312 | ¥128,000 | Designed for; Impreza STi (EJ207) / Impreza WRX STi (EJ20Y) |
|
| Hi-Comp Type | 9.5~9.0 | 1186925312 | ¥138,000 | Designed for; Impreza WRX (GC8 EJ205 / GDA EJ205), Legacy (BE/BH EJ206/EJ208), Forester (SF5/SG5/SH5 EJ205), Exiga (YA5 EJ205) |
※All Piston Kits comes with Piston Rings, Piston Pins and Circlips Included.
■REPLACEMENT PARTS
| PRODUCT | SIZE | P/N | JPY | NOTE | |
|---|---|---|---|---|---|
| Forged Piston | φ92.5 | 1183925314 | ¥32,000 | ||
| Hi-Comp Type | 1186925314 | ¥34,500 | |||
| Piston Ring Set | φ92.5 | 11992551 | ¥20,000 | ||
| Piston Pin | φ23-62mm | 12031R023 | ¥2,000 | ||
| Circlip | φ23 | 12032R023 | ¥1,200 | ||
FEATURE / SPEC
| ピストン仕様SPEC | ボア径(mm)Bore(mm) | ピン径(mm)Pin Dia.(mm) | 長さ(mm)Length(mm) | リセスReces | コンプレッションハイト(mm)Comp.Height(mm) | クラウン部容積 (cc)PistonCrownVolume(cc) | トップリング BxT(mm)Top ring BxT(mm) |
セカンドリング BxT(mm)Second ring BxT(mm) |
オイルリング BxT(mm)Oil ring BxT(mm) |
|---|---|---|---|---|---|---|---|---|---|
| 92.5 | 23 | 62 | ○ | 32.0 | 8.5 | 1.20*3.30 | 1.20*3.70 | 2.50*2.85 | |
| HiタイプHi-Comp Type | ○* | 1.8 |
*オーバーサイズバルブには対応していません。*Not compatible with larger valves
開発テーマDevelopment Thema
ピストンは燃焼によるエネルギーを動力に変換するすべての基となる部品であり、エンジン部品の中でも最も多くの運動量と激しい温度変化、そして高い圧力を受けています。
生産性を最優先させた鋳造(ちゅうぞう)素材では必要な温度強度を確保できません。この過酷な条件の中で100PS/1気筒を超えるチューニングエンジンのピストン素材はアルミ合金を使った鍛造(たんぞう)以外に考えられません。
燃焼圧力200気圧、作用する力11トン、燃焼ガス温度2500℃。例えば、高度にチューニングされた日産RB26やSRのピストンはかつてのグループCやF1と同じ条件で使用されていることを忘れてはいけないのです。 Since the piston is one of the most important components in an engine assembly, transferring combusted energy to mechanical movement, it must have enough strength to withstand severe temperature fluctuations and high pressures. Stock OEM manufactured pistons are typically made from cast metal and is ideal for mass production, however they cannot sustain the stress when used in highly modified engines that produce over 100 horsepower per cylinder. By using forged metal made from aluminum alloy to construct our pistons, the metal can then endure severe circumstances beyond the stock level. These forged pistons can withstand combustion pressures of 200 kgf and 11 tons of force with the combusted gas temperatures up to 2,500 degrees Celsius. Tomei pistons that are used in highly tuned RB26 and SR20 engines are the same type of pistons used in Group C and F1 racing.
ピストンの構造と運転状態によってピストン各部の熱膨張は異なります。TOMEIが採用しているアルミの熱膨張①を正確に把握した楕円、たる形の三次元プロフィールは、微妙な形状変化を持たせた無数の試作品を、ひとつひとつエンジンベンチにより評価したノウハウのかたまりです。
ピストンの温度分布はその形状や運転状態に大きく影響を受け、アルミの特質から熱膨張も大きいので、適正なクリアランスを確保するには、高負荷時のピストン各部の温度とそれぞれの熱膨張を正確に把握して楕円、樽形の三次元プロフィールを算出し、1/1000ミリ単位のカーブで熱膨張を補正する必要があります。
クリアランスが過大な場合、燃焼ガスを有効に動力に変えることができず出力が低下するのはもちろん、ピストンの過大な首振り現象が発生し燃焼ガスが吹き抜けてしまいます(ブローバイガス)。ブローバイガスは、ピストンリングとシリンダー間の油膜を切ったり、エンジンオイルに混入しオイルを希釈してしまい、オイルの基本性能を著しく低下させます。メタルの焼き付きや異常摩耗の原因がブロ-バイガスであることが意外と多く、また熱膨張が大きく、クリアランスが過少になった部位では、リングの焼き付きやスカッフが発生します。
真円ピストンでは特に温度が上がるトップランド、ピストンピンボス方向の熱膨張を補正できません。真円ピストンに交換したチューニングエンジンでピンボス方向の当たりが強くなるのは、こうしたメカニズムなのです。 The metal expansion rate in each piston will differ according to the material of the piston and driving conditions. In order to develop the perfect piston for each and every engine types, we have studied the characteristics of heat expansion in aluminum with many prototypes and countless hours on the engine bench dynamometer.
The resulting product is a 3 dimensional profile of the oval and barrel design. We have succeeded to produce a piston in 1/1000 mm of accuracy that applies to the appropriate piston to wall clearance.
Too big of a clearance results in power loss due to escaping gases between the cylinder wall and piston rings (blow-by), with decreased combusted energy transferred to mechanical movement. Another factor that causes blow-by is when the clearance is too large; the piston begins to rock at its pin axis inside the cylinder, causing the piston to scuff the cylinder walls at times.
Perfectly circled pistons are unable to wholly expand into the diameter of the cylinder, especially because of the difference in thermal expansion between the top land and piston skirt areas. This is why in some engines, the contact occurs at the vertical position of the perfectly circled piston because of the uneven expansion.
ピストンリングの薄型化によりフリクションの低減とフラッタリングを防止します。さらに慣性力が低下してリングの持ち上がりを防ぐことができるため、ブローバイ量が少なくなります。また、ピストン冠面からピンまでの間で、設計の自由度を上げることができるため、ランド寸法や形状の最適化が可能になります。理想的なピストンヘッド形状を形成することでピストン強度は飛躍的に向上しました。
We selected high performance thinner piston ring for less friction loss and to prevent fluttering. This can also prevent having a floating piston ring by reducing its inertia to help cut down the blowby. In addition to it, there will be more open area for designing between the piston head and piston pin; it is possible to set the size and shape of the piston topland freely. Designed in an ideal spec the pistons strength has been dramatically increased.
機種別の専用鍛造素材を採用することにより、汎用鍛造素材から削り出す製法では実現できない究極の強度、軽さを実現し、重量誤差を大幅に低減することに成功しました。
By using especially selected forged metal alloys on each part of our products, we succeed to giving our products an extraordinary extraordinary strength while greatly reducing the pistons overall weight. For this reason it is impossible to make all pistons on the same metal core as it may not be beneficial for another engines application.
生産性を最優先させた鋳造(ちゅうぞう)素材では必要な温度強度を確保できません。この過酷な条件の中で100PS/1気筒を超えるチューニングエンジンのピストン素材はアルミ合金を使った鍛造(たんぞう)以外に考えられません。
燃焼圧力200気圧、作用する力11トン、燃焼ガス温度2500℃。例えば、高度にチューニングされた日産RB26やSRのピストンはかつてのグループCやF1と同じ条件で使用されていることを忘れてはいけないのです。 Since the piston is one of the most important components in an engine assembly, transferring combusted energy to mechanical movement, it must have enough strength to withstand severe temperature fluctuations and high pressures. Stock OEM manufactured pistons are typically made from cast metal and is ideal for mass production, however they cannot sustain the stress when used in highly modified engines that produce over 100 horsepower per cylinder. By using forged metal made from aluminum alloy to construct our pistons, the metal can then endure severe circumstances beyond the stock level. These forged pistons can withstand combustion pressures of 200 kgf and 11 tons of force with the combusted gas temperatures up to 2,500 degrees Celsius. Tomei pistons that are used in highly tuned RB26 and SR20 engines are the same type of pistons used in Group C and F1 racing.
3D(3次元)プロフィール3 DIMENSION PROFILE
ピストンの温度分布はその形状や運転状態に大きく影響を受け、アルミの特質から熱膨張も大きいので、適正なクリアランスを確保するには、高負荷時のピストン各部の温度とそれぞれの熱膨張を正確に把握して楕円、樽形の三次元プロフィールを算出し、1/1000ミリ単位のカーブで熱膨張を補正する必要があります。
クリアランスが過大な場合、燃焼ガスを有効に動力に変えることができず出力が低下するのはもちろん、ピストンの過大な首振り現象が発生し燃焼ガスが吹き抜けてしまいます(ブローバイガス)。ブローバイガスは、ピストンリングとシリンダー間の油膜を切ったり、エンジンオイルに混入しオイルを希釈してしまい、オイルの基本性能を著しく低下させます。メタルの焼き付きや異常摩耗の原因がブロ-バイガスであることが意外と多く、また熱膨張が大きく、クリアランスが過少になった部位では、リングの焼き付きやスカッフが発生します。
真円ピストンでは特に温度が上がるトップランド、ピストンピンボス方向の熱膨張を補正できません。真円ピストンに交換したチューニングエンジンでピンボス方向の当たりが強くなるのは、こうしたメカニズムなのです。 The metal expansion rate in each piston will differ according to the material of the piston and driving conditions. In order to develop the perfect piston for each and every engine types, we have studied the characteristics of heat expansion in aluminum with many prototypes and countless hours on the engine bench dynamometer.
The resulting product is a 3 dimensional profile of the oval and barrel design. We have succeeded to produce a piston in 1/1000 mm of accuracy that applies to the appropriate piston to wall clearance.
Too big of a clearance results in power loss due to escaping gases between the cylinder wall and piston rings (blow-by), with decreased combusted energy transferred to mechanical movement. Another factor that causes blow-by is when the clearance is too large; the piston begins to rock at its pin axis inside the cylinder, causing the piston to scuff the cylinder walls at times.
Perfectly circled pistons are unable to wholly expand into the diameter of the cylinder, especially because of the difference in thermal expansion between the top land and piston skirt areas. This is why in some engines, the contact occurs at the vertical position of the perfectly circled piston because of the uneven expansion.
薄型リングTHINNER RINGS
ピストンリングの薄型化によりフリクションの低減とフラッタリングを防止します。さらに慣性力が低下してリングの持ち上がりを防ぐことができるため、ブローバイ量が少なくなります。また、ピストン冠面からピンまでの間で、設計の自由度を上げることができるため、ランド寸法や形状の最適化が可能になります。理想的なピストンヘッド形状を形成することでピストン強度は飛躍的に向上しました。
We selected high performance thinner piston ring for less friction loss and to prevent fluttering. This can also prevent having a floating piston ring by reducing its inertia to help cut down the blowby. In addition to it, there will be more open area for designing between the piston head and piston pin; it is possible to set the size and shape of the piston topland freely. Designed in an ideal spec the pistons strength has been dramatically increased.
機種別専用鍛造素材の採用APPLICATION SPECIFIC ESPECIALLY FORGED CORES
機種別の専用鍛造素材を採用することにより、汎用鍛造素材から削り出す製法では実現できない究極の強度、軽さを実現し、重量誤差を大幅に低減することに成功しました。
By using especially selected forged metal alloys on each part of our products, we succeed to giving our products an extraordinary extraordinary strength while greatly reducing the pistons overall weight. For this reason it is impossible to make all pistons on the same metal core as it may not be beneficial for another engines application.
高い精度の組付を可能とするダミーヘッドボーリングをおすすめしています。
ノーマルピストンは生産性・コスト・使用環境特定の難しさなどから、ガスシール性優先のプロフィールを製作することができません。また、シリンダーは自動車メーカーのラインの中でシリンダーブロック単体として製作されており、単体としての円筒精度はありますがシリンダーヘッドを取り付けた状態での円筒精度がありません。 TOMEIでは適正なプロフィールのオーバーサイズピストンを使う際には、エンジン組付時、組付精度とガスシール性を高くする、ダミーヘッドを取り付けて、シリンダーを歪ませた上でボーリングするダミーヘッドボーリングを推奨しています。



